Безвинтовое крепление проволочных лотков
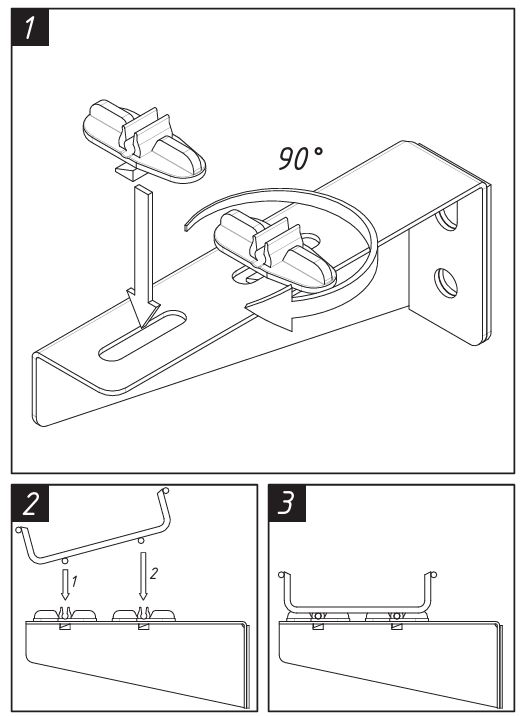
Компания МКТ представила быстрое решение для крепления проволочных лотков безвинтовым способом на консолях при помощи клипс. Клипса для проволочного лотка легким движением устанавливается в отверстие кронштейна/консоли и дает возможность быстро и надежно зафиксировать проволочный лоток.
Используется для крепления проволочных лотков с диаметром прутка до 4 мм. Изготовлена из полимерного материала.
Характеристики:
- высокая прочность;
- влагостойкость;
- термостойкость;
- химическая инертность.
Преимущества использования:
- существенно экономит время монтажа трассы;
- создает плотную фиксацию лотка на кронштейнах;
- не требует использования дополнительных инструментов.


